上汽集团获得实用新型专利授权:“轮胎和汽车”
云煤集团打破技术垄断 创新铸就 “中国精度”
比亚迪新专利:催化器设计革新尾气处理效率大幅提升
尊界S800到底有多安全 余承东:引领时代!
通用汽车新专利:O形环压缩密封件助力燃料电池技术突破未来续航
山东汉奕取得化工安全检测气体密封环专利大大降低维护成本
南山智尚:产能放量且收入攀升 进军机器人行业成新增长引擎
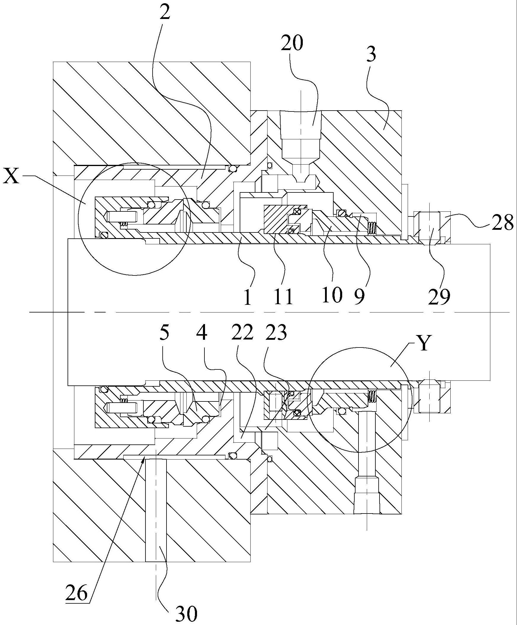
金海钰龙取得强制传动双端面集装式机械密封专利
宁波东联密封件取得单端面集装式机械密封专利 提高动环抗冲击能